
DOP液槽式高效送風口
DOP高效送風口也叫DOP液槽式高效送風口又稱DOP高效過濾器送風靜壓箱統稱為DOP送風口,是高效過濾器應用于送風系統中的中間裝置,目的是為了空氣在通過高效過濾器之前獲得理想的靜壓,使高效過濾器得到合理使用。其特點是結構緊湊、性能可靠、通風性強、安裝方便、維護簡單。DOP、壓差檢測口,液槽、下調式風閥,旋流等各類擴散面板,一應俱全。

DOP高效送風口|液槽密封式高效送風口為千級、萬級、十萬級凈化空調系統較為理想的終端過濾裝置,是滿足凈化要求的關鍵設備,可廣泛于醫藥、衛生、電子、化工等行業的凈化空調系統。
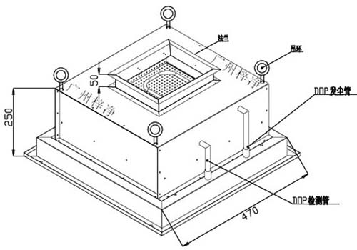
DOP高效送風口包含靜壓箱,散流板,液槽高效過濾器,和風閥。與風管的接口可為頂接或側接。液槽密封式設計進一步增強其密封性和獨特性。
配套使用我司自產的液槽高效過濾器的框架周圍有密封膠槽。在安裝過程中,裝有密封膠槽與箱體四周的刀邊相嵌套形成氣密密封。且在更換過濾器的過程中密封膠不會黏著在箱體四周的刀邊上。
獨特的液槽密封方式,自帶PAO發塵口和濃度取樣口,完全滿足新版GMP-E規范要求。

DOP高效送風口產品構成及規格表:
DOP高效送風口箱體材質:冷軋鋼板靜電噴塑、可以提供不銹鋼或者鋁板材質。
DOP高效送風口散流板:冷軋鋼板靜電噴塑、可以提供不銹鋼材質。
DOP高效送風口散流板類型:散流面板、可以提供圓孔板、漩渦擴散板或四路散射板。

DOP液槽式高效送風口配備過濾器:液槽式高效過濾器;過濾器濾料:超細玻璃纖維;過濾器效率:H13/H14/U15三種效率可供選擇。液槽膠:聚亞氨酯膠。密封膠:阻燃性聚氨酯膠;分隔物:熱塑性膠;護面網:噴塑鋼板網。
DOP高效送風口其特點是結構緊湊、性能可靠、通風性強、安裝方便、維護簡單。
DOP、壓差檢測口,液槽、下調式風閥,旋流等各類擴散面板,一應俱全。
高效送風口包括有隔板高效過濾器送風口和無隔板高效過濾器送風口。兩都之間區別在于使用的為有隔板高效過濾器和無隔板高效過濾器。

DOP高效送風口產品特點:
1、整體密封設計,從設計上徹底杜絕上下流泄漏的可能。
2、冷軋鋼板焊接,并做打膠密封處理,箱體表面采用靜電噴塑處理,耐腐蝕性強。
3、特殊的風閥調節裝置,在風口底部可方便調節風量。
4、獨特的液槽密封方式,自帶PAO發塵口和濃度取樣口,完全滿足新版GMP-E規范要求。

DOP高效送風口優點:
1、液槽送風口采用刀邊型插入液槽過濾器的果凍膠內實現密封,避免了送風從安裝間隙處泄漏,可一次性的通過DOP發塵的完整性檢測;
2、液槽送風口上安裝兩個DOP接頭,一個發塵,一個檢測,方便用戶在過濾器出風面對單臺過濾器進行DOP發塵檢測和測試高效過濾器的壓差,快拆接頭下接的軟管通到箱體底,這樣可以保證過濾器上游發塵濃度均勻;
3、旋轉式壓塊,方便過濾器的安全、快速更換;液槽密封保證更換過濾器無泄漏;
4、液槽送風口跟普通送風口一樣,可以做GH320,GH484,GH610,GH630,GH726,GH915,GH968,GH1220,GH945,GH1260等標準型,同時尺寸也可以根據客戶的要求制作。
我司現有的液槽過濾器鋁型材:80,90,150,220,可以配150,220厚度的有隔板高效過濾器,也可以配80厚度的無隔板高效過濾器.按風管的接入位置分為頂部送風和側面送風.其中頂部送風可以在進風口加焊均流板,使箱體內的靜壓更加均勻,同時使過濾器出風面的風速更均勻。
DOP下調式送風口(在過濾器出風面可以調節風量)也上線,可以滿足不同客戶的特殊要求。
DOP液槽高效送風口規格尺寸及其它參數:

產品來源:廣州梓凈http://www.ychcjs.cn轉載請注明來源!


高效送風口規格尺寸
超薄高效送風口
1000風量高效送風口
DOP液槽式高效送風口
紗網高效送風口
高效送風口